Oficina de Exportación: 21Floor, No.5 Nanhai Zhi Road,Qingdao, Shandong, China
Taller: Beian Industrial zone, Qingdao,Shandong,China
Martin
Salida soldada roscada
Material: Acero Cabon S / 10, S / 40 Acero inoxidable S / 10, S / 20 Material para forja
Tratamiento superficial: aceite antioxidante o electro galvanizado
Tipo de tubería aplicada: ASTM A53 Grado A o B / ASTM A 106-B / KSD 3507 / KSD 3562 / KSD 3576
Para uso con: aire, gas natural, aceite, vapor, agua
Hilos: ASME B1.20.1, ISO 7/1
Especificaciones cumplidas: ANSI / ASME B16.11, MSS SP-97
Salida soldada roscada
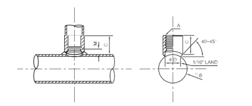
Las salidas soldadas roscadas que desarrollamos van desde 1/2 ″ a 4 ″. Son UnLets y SafeLet. La salida roscada soldada le permite crear una salida roscada en cualquier lugar a lo largo de una tubería. También se conocen como conectores de derivación y son comparables a Thredolet. Para instalar, taladre un agujero en su tubería para que coincida con el tamaño de la tubería del accesorio y suelde en su lugar.
● Conexiones de salida soldadas roscadas para protección contra incendios y otros sistemas de tuberías de baja presión.
● Los accesorios de salida roscados y soldados están clasificados para 300 psi cuando se utilizan en aplicaciones de sistemas de rociadores contra incendios.

Dimensión de salida soldada roscada
| Size | In | 1/2" | 3/4" | 1" | 1-1/4" | 1-1/2" | 2" | 2-1/2" | 3" | 4" |
Pipe Run Size | In | 1-4" | 1-4" | 1-1/4"-6" | 1-1/2"-6" | 2"-6" | 3"-6" | 3"-8" | 4"-8" | 6"-8" |
| A | In | 1.083 | 1.331 | 1.555 | 1.87 | 2.165 | 2.724 | 3.209 | 3.957 | 4.961 |
| C | In | 1.063 | 1.126 | 1.248 | 1.374 | 1.626 | 1.752 | 2.217 | 2.5 | 3 |
Nota:
Eathu no tiene certificado UL / FM para la salida soldada roscada, solo certificado ISO y CE.
Se pueden aceptar enviar muestras.
Salida soldada roscada utilizada para boca de incendios, para sistema de agua fría, verifique la salida roscada de alta presión
Eathu MOQ es 500 piezas para cada tamaño.

Oficina de Exportación: 21Floor, No.5 Nanhai Zhi Road,Qingdao, Shandong, China
Taller: Beian Industrial zone, Qingdao,Shandong,China
Martin
© 2020 QINGDAO FLUIDO INDUSTRIAL CO.,LTD. All Rights Reserved. Qingdao fluido valve